1.安装变幅杆
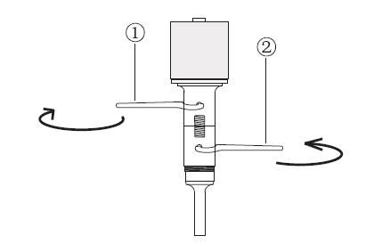
将换能器正放在桌上,左手握扳手①卡住主换能器的铝合金部分,右手握扳手②卡住换能器的变幅杆部分,左手顺时针用力,右手逆时针用力;如需安装略紧,可将换能器垂直正放,用夹具将变幅杆夹紧固定(夹紧时可用较软的垫片保护变幅杆表面),用扳手③卡住换能器的铝合金部分,顺时针拧紧。


2.拆卸变幅杆
将换能器倒置放在桌上,左手握扳手④卡住换能器的铝合金部分,右手握扳手⑤卡住换能器的变幅杆部分,左手顺时针用力,右手逆时针用力;如未拆卸开,可将换能器垂直正放,用夹具将变幅杆夹紧固定(夹紧时可用较软的垫片保护变幅杆表面),用扳手⑥卡住换能器的铝合金部分,逆时针松开。




