一、塑料瓶盖模具的特点及关键技术
塑料瓶盖制作的特点就是应用高速连转的成型单元,保证每个压塑模具的模组具有独立的运行单元,这样大大提高了制作的灵活性,降低了模具制作成本 , 延长了使用寿命。
压塑模具是塑料瓶盖加工的基础,实现压塑模具加工工艺必须要做好以下技术:
一是合理选择模具材料,保证压塑模具要具有极高的强度和耐磨性以及精密的尺寸控制;
二是材料热处理,对于材料处理技术是目前我国压塑技术与国外技术差距的集中体现;
三是螺纹曲面的精密加工,螺纹决定了塑料瓶盖的各种技术,因此该环节属于主要环节,其主要由车削、套扣、点火花加工等等;
四是高精度磨削,磨削属于的工序,其对于瓶盖的质量具有关键性的影响。
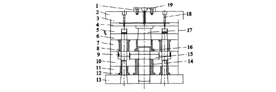
二、塑料瓶盖模具的设计
根据塑料瓶盖结构的要求,塑料瓶盖压塑模具设计装配如图2所示,

1、定位板 2、上定模板 3、上卸料板 4、流道板 5、下定模板 6、中间板7、动模板 8、轴套 9、行星轮 10、垫板 11、导向板 12、螺纹套 13、下固定板 14、轴套 15、太阳轮 16、轴套 17、主轴 18、拉料销 19、浇道
2.1浇筑口设计
本文设计的模具主要是从模具的中心进行填料,这样可以避免塑料瓶盖成型过程中出现空气的现象,形成良好的排气性。但是由于基于瓶盖封闭性要求,为提高螺纹的强度,防止其在注塑过程中出现气泡等可以采取将点浇口设置在塑料件的底部中心位置,以此提高塑料的流动性,提高产品的质量。
2.2螺纹旋转分离结构设计
在主轴 (17)轴向移动下,其连接的太阳轮(15)也随之转动,从而啮合行星轮(9)转动,通过行星轮 (9)的转动从而带动行轮轴的传动,在导向螺纹套(12)的作用下,使塑件与向配合的螺纹分离,达到塑件脱模的目的。
2.3限位机构设计
具体的设计结构为:工作时,上卸料板 (3)与流道板 (4)分开,动模部分也随之往后移动,在拉杆的作用下使上定模板(2)与上卸料板(3)也随之分离,将流道里的一些冷凝料取出,动模部分将随之往后移,在小拉杆端面限位的作用下,使上定模板4(2)与垫板(10)分开,完成相应的脱模动作。
三、塑料瓶盖模具加工工艺
根据对模具设计的分析,为降低加工过程中出现工件变形以及加工误差,在规范模具设计规范的基础上应该合理使用正确的加工工艺,具体为:
3.1在模具的关键部门要进行合理的规划设计与加工
型芯倒园角加工时要保汪其留有足够的空间,其主要是基于后续的加工因素而考虑的,塑料瓶盖加工一般需要经过粗加工之后在进行精加工,就避免因为精加工时出现前期余量不足,而导致塑料瓶盖体积变小的现象,应该在粗加工阶段留出足够的空间,保证在热处理之后有足够的尺寸进行加工。
3.2科学计算磨削结果
磨削加工是塑料瓶盖加工的重要环节,其主要是利用磨料去除材料的加工方法,属于提高塑料瓶盖精度的方法,由于用于磨削的余量比较小,因此在进行该环节的操作时需要严格进行计算,充分考虑接触表面的化学反应、接触温度以及载荷类型等等。
3.3做好零件热处理
在塑料瓶盖模具的加工过程中经常出现难以消除淬火应力,因此可以采取深度处理+高温回火方案,但是在实施中需要控制好回火的温度,实践证明选择 520摄氏度的温度进行回火可以提高模具的强度;同时还要规范回火的次数,保证进行三次回火。
3.4解决飞边问题
飞边一般发生在模具的分型位置上,造成该问题的主要原因就是在注塑过程中因为压力过大或者注塑的速度较快造成的,因此解决的对策主要是从以下方面人手:一是改良设备性能。一般在选择注塑机型号时,机器所标定的的额定合模力一般须大于注射成型件轴向横截面积在注射时所形成的张力;二是更新工艺方法。具体就是延长注塑的时间;三是重新设计模具。
- 上一篇:塑料瓶盖物理机械性能
- 下一篇:如何提高压塑瓶盖的品质


