超声波线束焊接机适用于多股裸铜线的焊接,线束总截面积应在25mm2一下。
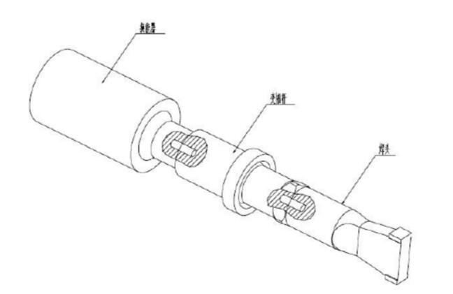
线束超声波焊接机内部结构

| 部件名称 | 功能描述 |
| 换能器、变幅杆、焊头 | 构成整支振动系统 |
| 压块 | 用于把振动系统固定在机架上 |
| 左夹块 | 焊接时,控制宽度使用;左夹块上的两个固定螺丝用于设置宽度归零时使用 |
| 上夹块 | 焊接时进行下压运动 |
| 右夹块 | 限位使用,放置焊接时右边跑线现象 |
| 调节左模块高低螺丝 | 调整左夹块与焊头的上下间隙,防止焊接时左边跑线现象。 |
线束超声波焊接机发生器

电源开关
超声波发生器电源开关。
试音按钮(绿)
超声波的触发按钮,主要用于检验超声波系统是否正常。
定位按钮(红)
夹具手动测试(无超声波触发)。
电源指示灯(红)
超声波发生器电源指示灯。
过载灯(绿)
显示过载情况。当出现过载时,过载灯发亮,超声波中断。
振幅表(F)
调试或测试时向右偏移0.~0.1。
电压表(V)
在调试时使用,当振幅表向右偏移0.~0.1之间时,此时电压表向右偏移1~2格为标准。
延迟时间
工作开关触发,左右压块动作的时间。
焊接时间
超声波触发的时间(根据线束焊接效果调节时间)。
振幅调节(超声波功率)
此旋钮分为5个档位,随着档位的增大则输出功率变大,根据线束焊接效果调节档位。
频率调节
当按下试音按钮,振幅表不在0.~0.1之间,则此时说明不在谐振状态,需调节次旋钮达到状态。
线束放置要求:

线束焊接时下列情况不允许发生:
1、单根导线中芯线缺失超过1%、松软、划伤或凸起。
焊接节点灼伤(变色)
焊点有裂纹或断裂
焊点内有外来杂质(油脂、油、剥落粒子等)
单根导线可被剥离于焊点
绝缘皮熔化于焊点内
同一焊点重复焊三次及三次以上(注:重复焊第二次时需检查铜丝有无损伤)

2、热缩管表面不光滑、不平整、表面有划伤等
焊点明显偏离热缩管中间,焊点末端与热缩管末端距离明显小于10mm
热缩不紧
热缩管无胶溢出
铜丝刺破热缩管
热缩管灼伤

线束焊接后弯曲测试
距离焊点30mm处将线束线往上折90°,然后再折回原来的位置,重复两次。要求此过程中焊点不可有芯线松散或损坏。

线束超声波焊接撕拉力测试
选择焊点内同侧截面积和小的电线固定于拉力机上(尽可能选取靠的近的两条电线),移动活动端测出其小裂力,小撕裂力需满足下班要求。
注:拉力机速度:50±5mm/min

| 线束小截面积(mm2) | AWG | 撕裂力(N) |
| 0.5 | 20 | 15 |
| 0.8 | 19 | 23 |
| 1.0 | 17 | 35 |
| 1.5 | 15 | 45 |
| 2.5 | 13 | 70 |
| 4.0 | 11 | 100 |
| 6.0 | 9 | 130 |
| 10.0 | 7 | 165 |
线束超声波焊接水平拉力测试
一端夹小截面的线,另一端夹截面的线(几乎是同一条直线上的)。水平拉力要满足表3的要求。
注:水平拉力:50±5mm/min

| 线束小截面积(mm2) | AWG | 撕裂力(N) |
| 0.5 | 20 | 80 |
| 0.8 | 19 | 120 |
| 1.0 | 17 | 160 |
| 1.5 | 15 | 200 |
| 2.5 | 13 | 250 |
| 4.0 | 11 | 350 |
| 6.0 | 9 | 400 |
| 10.0 | 7 | 500 |
线束超声波焊接机更换焊头调整步骤:
1.拆开线束机的上板和前板;
2.拧松左模块固定螺丝,并把左模块提起一点。方便取出振动系统;
3.松开压块,取出振动系统;
4.更换焊头,并装回原处;
5.校准焊头;
6.装回压块,并固定紧振动系统。

线束宽度、高度调节
线宽调节
往左旋转是宽,往右旋转是窄。
线高调节
往左旋转是高,往右旋转是低。

更换振动系统要注意的问题:
1.细心观察连接螺栓纹路是否完整,免得因振动把振动系统的螺芽破坏。有需要时要更换,免得因小失大。
2.连接面要确保清洁,不要有灰尘、物体。安装时要加黄油,让超声波传递得更好。
3.先把螺栓拧紧焊头后,再拧松半个圈,防止螺栓上死焊头,再上到二极杆上。安装二级杆与换能器也必须先把螺栓先拧到二级杆上,再装换能器。顺序不能搞反,请留意!
4.更换完成后,请不要立即安装到机器上,连接好电缆线,把振动系统直接平放到台面上测试一下超声波是否异常。
a)有怪声时,请重新安装振动系统。
b)断续打两、三分钟超声,每次触发超声波不宜过长,检查发热情况发热异常时请重新安装(连接面可能不整洁)。

- 上一篇:汽车线束出货的外观检查
- 下一篇:2018各国汽车线束标准大全

